企业信用等级证书
CTC质量管理体系认证证书
CTC Certificate of Registration
2025全国木匠真空泵十大品牌排行榜
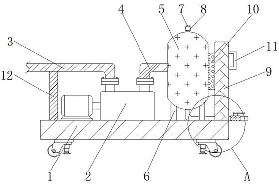
关于全屋定制工厂来说,开料机的真空吸附体系是出产的“心脏”——假如真空泵吸附力缺乏,板材会移位导
爱豆传媒mv在线看免费(我国)官方网站IOSAndroid通用版手机app下载
爱豆传媒mv在线看免费(我国)官方网站IOS/Android通用版/手机app下载 钟
2025木工真空泵十大品牌排名及优质厂家推荐
对于全屋定制工厂和开料机生产厂商来说,木工真空泵是保证生产效率的关键设备。但很多企业都遇到过这样
2025中国家电厂商互融发展峰会在杭州隆重举行
【导读】一个地区行业峰会,多年来受到全国相关行业组织、地方政府、兄弟协会的格外的重视与参与,就足
让我们保持联系
第一时间获取我们的新产品、活动及新闻信息。
热线:15206181866